Der läuft einwandfrei. Und jetzt tuts der rechte Auslöseknopf plötzlich auch wieder. Kannst du zaubern?
Druckbare Version
Vor allen Dingen seh' ich, daß ich Tippfehler kann ;-)
Bei Deiner Kamera unterstelle ich eher, daß die mal ein wenig Übung benötigt(e) - kann aber auch gut sein, daß die Schalter mal justiert werden müssen.
Zur W-Lampe kann ich W-enig konstruktives beitragen. Mein erster Verdacht fiele auf das Magazin (oder die Kontaktierung zum Magazin). Erste Serie mit 20/36/24 Bildlängenschalter "Made in Singapore" macht mehr Probleme als spätere 36/72 (Made in Germany) und später dann noch weniger Ärger mit denen für 3003/3001 mit langem, gekröpften Funktionswähler (aber auch die können Probleme haben).
Wie die Zeit doch vergeht. Das Sonnar musste ich aufgeben. Ich war noch in einem Betrieb der auch Gewinde schneidet usw. Selbst die haben mir noch helfen können. Den Tubus kann man nicht mehr montieren. Wenn jemand Interesse an den Reststücken hat, gerne melden.
Ansonsten habe ich mir heute den Auslöser noch einmal angesehen. Der Hub des Metallstifts reicht einfach knapp nicht aus um auszulösen. Wenn man mit einem langen Metallstift den Mechanismus betätigt, läuft er aber zuverlässig. Man muss nur ziemlich tief hineindrücken. Ich würde mir jetzt eher einen neuen Auslöseknopf mit lngerem Hub bauen als die Kamera auseinanderzunehmen ...
Ich habe vor drei Jahren geschrieben, dass der dritte Aulöseknopf funktioniert. Aber ich kann nicht mehr nachvollziehen, welcher dritte Auslöseknopf das gewesen sein soll. Die 2000F soll auch nur zwei haben, die 3003 dann aber drei. Ich muss den dritten Knopf halluziniert haben. Wie löst mn eigentlich mit dem Pistolengriff aus? Auf der Abbildung in der BDA ist keinerlei Verbindung zur Kamera zu sehen, abgesehen von der Stativschraube. Die reagiert jedoch nicht auf Druck.
Eine weitere Frage habe ich zum Magazin. Es ist ein 36/72-Magazin. Die Kamera ist Made in Germany. Das Magazin auch? Es hat jedoch anders als das Magazin aus der BDA kein Einstellrad für die Filmlänge. Es ist also schon ein neueres Magazin? Wie kriegt man eigentlich 72 Aufnahmen auf einen Kleinbildfilm außer in Halbformat?
Ich muss die 2000F dringend mal wieder ausführen. Sie hat damals durchaus Spaß gemacht.
Zeig' doch mal Fotos!
Speziell das Sonnar würde mich ja mal interessieren ...
Ein Auslöseer (für den Pi-Griff) ist an der Kameraunterseite, den kann man mit einem Kuli betätigen ;-) am Pi-Griff fährt ein Stift aus.
Anhang 154619
Für aufrechte Bastler ist das natürlich nur Kindergeburtstag - aber vielleicht ermutigt es Leute, die ähnlich wenig Erfahrung haben wie ich: An meinem Zeiss Jena Zebra-Sonnar 2,8 / 180 - Mitte der 80er gebraucht gekauft mitsamt Adaptern für M42 und Exakta für insgesamt 400 DM - wurmten mich Beläge auf einer inneren Linsenfläche.
Wirtschaftlich hätte sich eine professionelle Werftliegezeit wohl nicht gelohnt.
Vorhin konnte ich der Versuchung nicht widerstehen und habe das gute Stück von der Frontlinse beginnend aufgeschraubt. Zum Glück hatte ich feste Fingernägel, die in die (laienhaft ausgedrückt) Nuten in den Ringen greifen und die Ringe (allesamt Rechtsgewinde) unfallfrei losdrehen konnten.
Falls es "Markenkollegen" interessiert, die dasselbe Problem mit ihrem Sonnar haben:
- Man schraubt zunächst den großen Metallring ab, auf dem auch Filtergewinde, Gravur etc. draufsitzen
- Dann dreht man den darauffolgenden Ring los. Ist er raus, läßt sich die Frontlinse entnehmen.
- Darunter liegt das mittlere Glied: das kann man auf die gleiche Weise wie den vorangehenden Ring komplett herausdrehen. Auseinanderfallen kann es zum Glück nicht.
- Damit hat man alle Glas-Luft-Flächen des Objektivs frei - zum Glück sind es bei diesem klassischen Sonnar ja nur drei Glieder - und kann sie reinigen.
Die Beläge sind rausgegangen. Pilz habe ich wider alle Befürchtungen nicht finden können.
"Zusammenbau in umgekehrter Reihenfolge", würde es bei Mercedes heißen.
Wenn alles klappt, kann das Sonnar nächsten Monat zusammen mit meinen beiden Exaktas und Diafilmen Farbe & Schwarzweiß auf die Kurzreise nach Leipzig mitkommen :yes: :lol:.
Michael
Danke! Dann hab ich das damals doch nicht halluziniert! Der geht auch. Es liegt also am rechten Auslöser nur daran, dass der Stift des Auslöseknopfs nicht tief genug ins Gehäuse vorstößt.
Das Sonnar hab ich mal wieder aus dem Lager geholt:
Anhang 154637
Anhang 154638
Zum Auslöser hilft evtl. auch noch das hier:
Anhang 154647
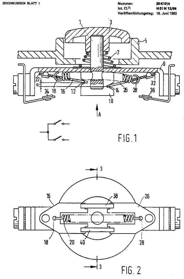
"Der Stufenschalter arbeitet mit einer Übertotpunktkinematik an den einzelnen
Kontaktplättchen und durch die Anordnung der Lagerpunkte ("12", "14" im Abstand
"a") ist die Reihenfolge der Betätigung (inkl. genau umgekehrter Reihenfolge
beim loslassen) sichergestellt. Der Schalter begegnet uns dann auch wieder in
den Kabelauslösern und der Rolleiflex SL 2000 F (und Nachfolgern/Derivaten)."
Anhang 154648
Anhang 154649
Noch zu " Wie kriegt man eigentlich 72 Aufnahmen auf einen Kleinbildfilm außer in Halbformat?": Ilford "experimentierte" mit einem dünneren Träger und hatte den HP5 als 72 Aufnahmen-KB-Patrone auf den Markt gebracht. Die wenigsten Kameras hatten dafür ein Zählwerk (mir fällt außer den Magazinen zur Rollei gerade gar keine ein), und selbst wenn man das ignorierte oder eine Rollei hatte, war die Entwicklung "trickreich", denn die normalen Spiralen (Patterson, Jobo, Triplex (DDR), ...) konnten soviel Film aufnehmen. In meinemjugendlichen Leichtsinn habe ich mal eine "normale" Patrone mit Gewalt mit soviel stramm gewickelter Meterware bestückt, wie ging ... die Entwicklung ging dann schief und ich hätte "blind" schneiden sollen (das hätte garantiert das einzige Pulitzer-Preis-verdächtige Foto auf dem Film gekostet!) und in zwei Spiralen einspulen sollen ... so lagen bzw. bappten die Lagen aneinander und die Chemie kam nicht zwischen den Lagen an die Emulsion und es ging ein Dutzend Fotos flöten. Das muß man alles mal gemacht haben.
Danke! Ich trau mich aber nicht, alles auseinanderzubauen nur um das zu justieren. Wenn es schlecht läuft, mache ich etwas kaputt. Und ich kann mir jetzt ja damit behelfen, links auszulösen. Das geht ja. Das mit dem 72er Film hab ich noch nie gehört. Spannend!
Streng genommen gab es für den dünneren 72er HP5 dann noch eine spezielle Andruckplatte, die muß man als Sammler natürlich auch haben.
Zum Film:
https://www.pentaxforums.com/forums/...ld-days-5.html
Anhang 154650
Wenn es ganz hart kommt, kannst Du ja auch noch elektrisch auslösen ;-)